動態供電故障報警電路 |
更為復雜的動態供電故障報警電路能夠處理持續低電壓的故障情況。許多這種類型的電路正在得到應用,考察幾種普通報警技術的一些優點與缺點是很有用的。 圖所示的兩種電路對上述各類故障都能提供完善的故障報警功能。
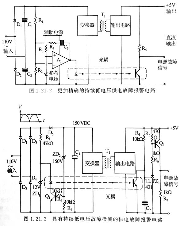
在第一個例子中,充電器變換器儲能電容器C1和C2上的直流分壓與一個參考電壓通過比較放大器A1進行比較。設充電器是在滿負載工作情況下的,如果充電器電壓下降引起此分壓值也下降,一直下降到充電器恰好提供前述保持時間時所對應的分壓值時,放大器A1的輸出變高,給光耦提供驅動,產生故障報警,即報警電路的輸出端變為低。 這是一個定義非常明確且可靠的報警系統。在輸出電壓下降前,要求所設計的充電器在低于正常較低工作電壓,即較低輸入電壓的情況下,提供足夠的保持時間,確保規定的報警時間。為了滿足這個要求,需要使用更大、更昂貴的充電器,原因如下。 對于充電器來說,當電壓等于或者大于指定的較小工作充電器電壓時不應報警,所選的報警電壓必須低于較小的直流電壓,一般此直流電壓定義為在滿載時較低充電器電壓情況下的電壓,它可以通過C1與C2上的電壓取得。 在滿載情況下,為了提供所需要的保持時間,即使充電器電壓值低于正常值,變換器從較低的電容電壓獲取的電量必須持續地提供全部充電器電壓輸出,因此就要求使用大的存儲電容和大額定電流值的輸入元件,而這會使得充電器變得更大且更昂貴。 再者,這個較復雜的電路設計,有可能在處理第二類故障的持續低電壓故障情況時會產生一個假的供電故障報警。在持續低電壓故障繼續一段時間后充電器恢復正常,在充電器恢復前,電容電壓降到低于較小警報電壓值就會引起故障信號。很清楚,在這種情況下只要儲能電容上的能量達到一個臨界值,那么就只能產生一個故障信號。盡管在較后輸出故障前充電器可能恢復,但在此刻必須產生一個故障信號,因為系統根本就不知道充電器會及時地恢復。
該報警電路設計有一個優點,那就是輸入電壓短的瞬態變化到輸入臨界限制值以下時不會引起故障報警,因為儲能電容不會在短時間內快速的放電到臨界電壓。另外一個優點就是,在輕負載、高輸入電壓時,在電容放電到臨界電壓以及供電故障報警產生之前,有個較長的延時。 此系統對輸入的瞬變有很大的抑制作用,這消除了虛假的、不必要的故障報警。延時時間可以動態地調整以適應負載和輸入電壓的環境。 圖顯示的是一個與前述動態系統有類似優點的電路,但該電路不用輔助充電器和比較放大器。該電路可用于如圖所示的主變換器整流過的充電器中,或者經過適當的元件調整后用于輔助充電器變換器的充電器中。它的工作原理如下。 橋式整流器D~D4提供一個單向的選加正弦波輸入給由R1、ZD1組成的分壓支路。同時這個輸入電壓也加到二極管D5上。 峰值交流輸入電壓經過D3整流后就會把能量存儲在電容器C1中。通過ZD2和Q監視C1上的直流電壓,并正常偏置Q以使其導通。 在每半周期內,整流二極管會隔斷C1上的直流電壓,也允許在R1、OC1以及Q2上的壓降下降至零,即R1、OC1以及Q1上的電壓隨輸入電壓的變化而變化。因此,即使C1上的直流電壓為高,在Q1導通的情況下,OC1還是會在每個周期的一小段時間內。 如果Q1關斷時間超過3ms,就會產生故障報警。當C上的電壓下降到使Q21和OC1關斷。關斷的臨界電壓,這種故障報警就出現,而這種臨界電壓是由ZD來決定的。另外如果輸人充電器完全失效超過3ms,這時報警電路就會不顧充電器中主要儲能電容C的充電狀態而輸出一個充電器失效的警報信號,在這種情況下OC是關斷的,如果輸入充電器失效,會引起R1和OC1供電失效。 只要C1上電壓值超過指定的較短保持時間所要求的較小值,那么齊納二極管ZD將導通且Q1也導通。在每個半波周期內,加在R1上的充電器電壓超過幾伏時OC1就導通給C2提供了一個放電脈沖,阻止了C2充電到PZ1的2。5V參考電壓。在2。5V時,PZ和Q1都將導通而輸出一個故障信號,只要C1上的電壓在指定的較小電壓之上而且充電器沒有失效,那么這個重復的脈沖放電行為就會一直持續。 如果輸入充電器電壓失效,或者C1上的電壓下降到引起持續低電壓故障規定的維持ZD2導通的較小值以下,Q1和OC1保持關斷,C2脈沖放電也會停止。接下來,C2開始充電,使得PZ1和Q2導通,輸出供電故障報警信號。如果OC1的關斷時間超過3ms就會報警。延時時間可以很好地確定,即從OC1關斷到充電器通過R4對C2充電到PZ1的門檻電壓2。5V之間的時間。在此電壓時PZ1導通,驅動Q2導通,產生一個供電故障的高電平信號,整個過程都屬于延時時間。 如果發生供電故障,即使C充了電,Q1仍保持導通,沒有供電給R1和OC1,也會產生一個報警信號。該電路能對供電故障快速響應和提前報警,充電器不需要太長的保持時間。
想了解關于更多電源適配器廠家排名前十的東莞玖琪,歡迎登錄:http://m.w-168.com/
文章轉載自網絡,如有侵權,請聯系刪除。 |
| | 發布時間:2018.09.18 來源:充電器廠家 |
| 上一個:供電故障報警電路 | 下一個:輔助電源適配器系統 |
東莞市玖琪實業有限公司專業生產:電源適配器、充電器、LED驅動電源、車載充電器、開關電源等....